一、前言
耐腐(防腐)伴热采样复合管(简称伴热采样管)是一组由耐腐蚀高性能树脂管与自限温伴热带或恒功率伴热带组成内芯,外加保温层、铝带,较后敷以阻燃聚烯烃保护外套复合而成。主要用于监测控制系统采集样气(液)用。在石油、化工、电力、冶金、焦化、环保等行业得到广泛应用。
根据用户使用地的工艺条件,如温度、湿度、腐蚀性和气象条件等情况设计和制造。原始情况属实,经精心设计,制造过程中严把制造质量,施工过程中安装质量事关重大。务请认真阅读耐腐伴热采样复合管安装操作说明书。尤其值得提出的是耐腐伴热采样复合管中自限温伴热带或恒功率伴热带的安装要求严格,使用不慎容易发生故障,影响耐腐伴热采样复合管的使用寿命。
二、应当遵循的安装程序
1、安装前的准备工作
① 工程设计与工程实际情况进行核对;
② 对自限温伴热带、恒功率伴热带、采样导压管进行检测(检测完毕后要用热缩性套管进行封闭);
2、安装
① 对耐腐伴热采样复合管施工前复查,无损伤;
② 按照设计图纸或编制方案进行安装。
3、安装结束后
① 对耐腐伴热采样复合管中自限温伴热带和恒功率伴热带测试绝缘电阻及安全检查;
② 对采样管进行气密性检查(用干燥仪表空气);
③ 对自限温伴热带和恒功率伴热带送电检查动态电流、温度等。
三、复合管安装程序中的技术要求
1、安装前期工作
① 由于复合管中自限温伴热带和恒功率伴热带的特性,对于伴热带的选用安装则不详尽。经过数年的工程实践,诸多人为因素导致破坏。因此我们认为:前期工作对设计图与工程实况要进行核对是非常重要的。
② 工程所在地气象资料:年极端较低温度、环境的湿度、风速等。(沿海地区还要考虑盐雾影响)
③ 设计的配电容量是否满足自限温伴热带和恒功率伴热带的要求,其中自限温伴热带具有PTC特性,决定了一送电起动时有“浪涌电流”现象,通常被设计者、使用者疏忽。在工程中己多次发现,因配电容量开关过小,导致导线发热、跳闸、不能投运。我公司研制的HY01-B-220/35-100型自动限流器用于自限温伴热带工程基本解决了这个问题。我公司根据工程所在地的情况,建议复合管(管内是自限温伴热带的)长度>15米的管线需配我公司生产的自动限流器,并配漏电保护开关,容量见后附表。
2、复合管安装技术要求
① 复合管在储运、安装时,尽量避免在地面拖拉或浸入水、油污中,以免损坏护套和绝缘层。
② 复合管在安装前后,均应对自限温伴热带和恒功率伴热带进行电性能测试,线芯绝缘电阻>20MΩ为宜。在天气阴潮湿度大的情况下可放宽到>2MΩ,在<2MΩ是要查清原因,方允许送电投运,上下工序要求有详细交接记录,以便事故分析时查考。
3、电气配件的安装技术要求
① 复合管中伴热带与电源线连接:在易燃易爆场所必须采用与伴热带配套的防爆接线盒,在剥出伴热芯线时应十分谨慎,避免多股线芯断股,使线芯截面变小,引起过载而烧毁,导线在绞结后用热缩性套管密封。
② 采样管线的送电开关请按技术要求的列表来匹配,并配上漏电保护,防止短路和漏电事故。
③ 在安装采样管线到位后,特别是尾端部不能裸露在外,长时间日晒雨淋,复合管内保温层严重吸水,会造成伴热带老化及脆化、短路引起事故,也降低使用寿命。(尾端部不能用绝缘胶带绕线包裹,容易脱落、松开和老化,较好用Φ50的热缩性套管收缩解决)。
④ 复合管中自限温伴热带和恒功率伴热带的两条线芯,必须保证电伴热带与各防爆电器附件正确可靠地连接,并有足够的电气间隙。在带的末端是严禁相碰短接的,一般情况下用热缩性套管密封,并用终端封闭。在防爆、湿度大的地区则必须采用专用防爆终端。接线后螺母要旋紧牢固可靠,不致被外力拔脱。
⑤ 采样管线不论长短,伴热电缆和电源线之间必须用中间接线盒过渡连接,否则会出现电火花、短路和漏电的事故(仅用绝缘胶带绕线包裹,因为绝缘胶带在长时间高温条件下容易老化,融化)。
⑥ 由于并联式恒功率电伴热带由一段段发热节组合而成,其首尾二端各有几十厘米的不发热部分(冷端),安装电器附件时,应确认冷端的起始点(移去编织层,在外护套上有凹坑,即为发热接口),将开始发热部分控制在需要伴热的部位,冷端长度一般控制在0. 2-0. 3米。自限温伴热带不存在发热节或冷端,可以任意裁剪使用。接线时,尤其是并联式恒功率电伴热带。必须特别注意线头部位的电热丝,要尽可能的剪短,并嵌入内外层护套之间,严禁其与编织层或线芯触碰,以防漏电或短路,发生意外。附件安装时,必须胶圈、垫圈、紧固件等齐全,方位正确、紧固,以防松动或盒内进水。
⑦ 凡穿越线路连接盒及易磨损部位的带体必须有专用保护措施,防止震动磨擦,一般应放置在桥架内或专用管架上。
⑧ 电源线应采用三芯电缆,其中一芯作为接地与伴热带屏蔽层同时接在接地端子,内外接地栓必须牢固可靠(必须要接地,因为屏蔽层感应电压较大在125V,一定要处理好,否则引起事故)。
⑨ 复合管中自限温伴热带和恒功率伴热带电源电压必须相对稳定。若电源电压波动过大,容易使复合管中伴热带受损或达不到发热效果,必须采取相应措施,比如加稳压装置。
⑩由于各个厂家产品参数不同,我公司电伴热产品一般不能与其他产品混用,以保正常安全使用。
除上述安装要求外,电伴热带的安装、调试和运行必须遵循国家颁布的“爆炸危险场所电气安全规程”和“电气装置安装工程施工及验收规定”等标准和规范中的有关条文。
4、复合管中电伴热带的衔接安装简图
通过几年来许多工程资料积累,编绘了伴热带安装衔接简明图供参考:
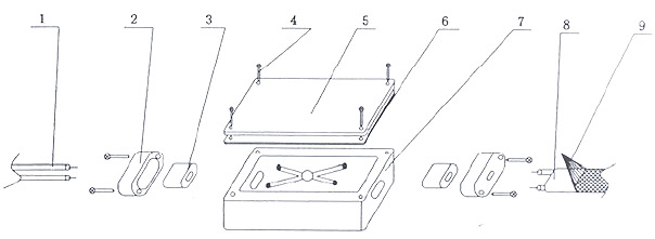
1.电源线;2.接线盒的压盖;3.密封胶圈;4.固定螺钉;5.接线盒的顶盖;6.密封压片;7.接线盒本体;8.电伴热带;9.伴热带屏蔽网接地线
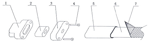
1.终端本体;2.密封胶圈;3.终端压盖;4.固定螺钉;5.热缩性套管(耐温125℃) ;6.电伴热带;7.伴热带屏蔽网接地线
四、安装指标与要求
1、电气指标
① 额定电压220VAC,根据不同的伴热电缆,伴热温度可在60℃-160℃范围;
② 自限温伴热带和恒功率伴热带一端接电源220VAC,另一端伴热带二根芯线严禁短路,采用终端封闭,加用703粘合剂。
2、复合管安装指标
① 复合管的较小曲率半径0.5 m;
② 自限温伴热带较大连续使用长度80m(如大于该长度,请与本公司技术部联系),恒功率伴热带较大连续使用长度140m;
③ 较低安装环境温度-30℃(如低于该温度,请与本公司技术部联系);
④ 较小支撑点距离:垂直方向2m,水平方向2m;
⑤ 伴热采样复合管安装应防止重物坠落砸伤、碰损;
⑥ 伴热采样复合管应避开与动力电缆敷设在一起;
附表:
注:恒功率伴热带采样复合管的使用长度按伴热带的额定功率计算进行匹配断路器和电源线,不需要配置限流器。


